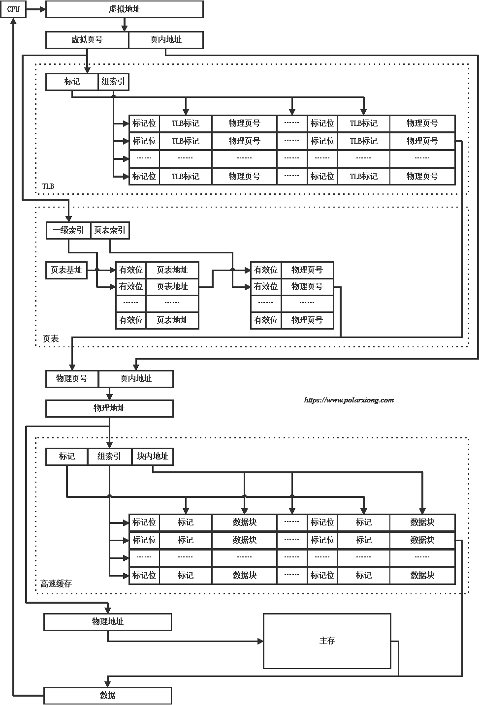
Virtual Address


注意子集关系
1. Page Table
- 程序给出:虚地址 = 虚页号 || 页内地址
- 读页表:实页号 = 页表基地址 + 虚页号
- 实地址 = 实页号 || 页内地址


2. Translation Lookaside Buffer
sfence.vma : 通知处理器,软件可能已经修改了页表, 处理器可以刷新 TLB
- rs1 指示哪个虚拟地址对应的转换被修改了
- rs2 指示被修改页表的地址空间标识符(一般相当于进程) ASID
- 如果两者都是 x0 ,整个 TLB 会被刷新
3. Segment

- 段始地址 = 段表基地址 + 段号
- 主存实际地址 = 段始地址 + 段内地址
段页式虚拟存储管理
- 先把程序按逻辑单位分为段
- 再把每段分成固定大小的页
Last update: December 25, 2021
Authors: